“La mujer más bella del mundo”

El día que me comunicaron el premio soñé que volvía a la cantina de Hollywood. Yo no cocinaba pero ayudaba en el fregadero, servía comida, firmaba autógrafos e incluso bailaba para esos jóvenes que me miraban embobados. Por algo la revista Time me declaró la favorita de los soldados americanos.
Bette abrió la cantina un par de meses después de que nos concedieran la patente. El tsunami de patriotismo que desencadenó el ataque a Pearl Harbor alcanzaba Hollywood. Yo, por aquel entonces, ya había recaudado 7 millones de dólares en bonos de guerra vendiendo besos a ricos chovinistas. Dios sabe que no era esa la contribución que había deseado, pero quizás era lo que se esperaba de una estrella del cine.
Yo no era americana, tan solo una bonita refugiada de raíces judías que ni siquiera usaba su verdadero nombre. Luis B. Mayer escogió para mí el nombre de una actriz-amante que desapareció de forma trágica, Barbara La Marr. En su momento de mayor popularidad se le conocía como “la mujer que era demasiado bella”. A mí me pareció un nombre elegante y glamuroso. De cualquier manera, resultó ser un buen nombre, pues también a mí se me llegó a conocer como “la mujer más hermosa del mundo”.
“La niña está sana, pero no tiene nariz” dijo, según me contaron, el médico que me ayudó a llegar al mundo. Nací en Viena, en una época dorada en la que los vieneses se preocupaban más de lo que ocurría en los teatros que de lo que se hablaba en los órganos de gobierno. La ilusión de cualquier niña era subirse a un escenario y yo no era diferente. Con una madre concertista de piano, a los 11 años ya dominaba el piano, la danza y varios idiomas.
Mi padre, banquero de ocupación, me enseñó a observar el mundo y yo aprendí rápido. Pude haber sido una buena ingeniera o científica. Me encantaba la química. Pero la verdad es que mis padres no pudieron negarse cuando yo, su única hija, decidí abandonar el colegio para estudiar artes escénicas con tan solo 16 años. Siempre he querido ser actriz, pero nunca fui como el resto de mis colegas de Hollywood. No era muy amiga de las grandes fiestas, prefería las pequeñas reuniones. Necesitaba mi espacio personal para experimentar y dar rienda suelta a mi faceta creativa.
Las ideas llegaban a mí constantemente, de manera inconexa y no podía evitar buscar un nexo de unión entre ellas. Era casi una obsesión. El proceso inventivo es como seguir una cascada de ideas y pensamientos interconectados de conceptos que ya estaban ahí, aunque de forma separada. De repente, en mi mente veía claramente la relación entre esos conceptos y al ponerlos todos juntos creaba algo nuevo. Supongo que no es muy diferente al proceso de un descubrimiento científico o al proceso creativo de un artista. Mi buen amigo, pero mal amante, Howard Hughes , entendió muy bien esta faceta mía y me facilitó material para tener mi propio laboratorio con el que trastear durante los rodajes.
Me gusta pensar que mi vida comenzó mucho antes de que yo llegase a ella. Igual que se prepara la habitación del bebé que está a punto de llegar, el mundo se preparaba para aportarme todas las ideas y conceptos que yo iba a necesitar para crear mis inventos. Me gusta poner el comienzo en el año 1900, justo antes de empezar el siglo XX, 14 años antes de mi nacimiento. Aquel año París albergó La Exposición Universal y los parisinos conocieron el primer metro, el Zeppelin surcaba los cielos y el primer submarino se sumergía en las profundas aguas del océano. En Nueva York se producía, lamentablemente, el primer accidente mortal de coche.
El mundo estaba cambiando, o tal vez, simplemente, la ingeniería y la nueva ciencia nos permitieron redescubrirlo. “Que afortunado somos de vivir el primer día del siglo XX” decía la editorial de Le Fígaro del 1 enero de 1901. Lo que no se sabía es que a la vuelta de la esquina nos esperaban dos grandes guerras que llenarían nuestra existencia de sufrimiento, pero también de retos inimaginables que permitirían un desarrollo sin precedentes.
1900 dio vida a grandes personas que influyeron decisivamente en la mía y a otras cuyo camino tan solo se cruzó con el mío en algún punto del espacio y del tiempo, aunque no llegáramos a reconocernos. Nació Frirtz Mandl, el traficante de armas que fue mi primer amor de juventud y que mutó rápido a obsesivo carcelero. Me encerró en una cárcel de oro de la que, asfixiada por la falta de libertad, tuve que huir abandonando para siempre mi tierra natal. Me exhibía como elemento decorativo en las cenas de negocios. Por nuestros salones y comedores pasaron grandes señores de la guerra como Himmler o Mussolini, Entre copa y bocado hablaban de comunicaciones por radio, armas y torpedos. Yo, tan solo sonreía y escuchaba.
No fue fácil escapar de un mundo que te envuelve y controla, cualquiera hubiera sucumbido a la riqueza y la presión de un carácter dominante, pero yo estaba determinada a vivir mi propio sueño: ser una verdadera actriz. Precisamente fue mi impaciencia por conseguirlo lo que me había lanzado a sus brazos, pero también a los del escándalo. Protagonicé el primer desnudo de la historia del cine en la película checa Éxtasis. Mi padre nunca se repuso del impacto. Ojalá Luis Buñuel, que también nació aquel año de 1900, hubiera acaparado ese honor con su película El perro andaluz. Pero entonces el mundo no sería tal y como hoy lo conocemos.
Luis y yo debimos coincidir en Hollywood en su periodo de exilio, pero no creo que llegáramos a conocernos. De quien sí fue amigo y conocido fue de George Antheil, mi colaborador en desarrollar la mejor idea que nunca he tenido.
“El chico malo de la música”

En 1939 los dos vivíamos en Hollywood, pero no nos conocíamos. Hedy estaba en su escalada a la fama mientras yo pasaba por una época baja. Un encuentro casual era improbable. Pasé mis años de juventud en Europa y visité Viena, pero es casi imposible que coincidiéramos allí, pues ella debía ser entonces tan solo una niña.
Hedy supo de mí a través de un amigo común, un diseñador de moda. Recuerdo que escribió con lápiz de labios su teléfono sobre el parabrisas de mi coche y esperó a que la llamará. Su interés por mí era para discutir sus supuestos problemas glandulares; durante una fiesta escuchó a Clark Gable hacer un comentario negativo sobre su pecho. La fama de mis conocimientos sobre el sistema endocrino se había extendido por todo Hollywood. Pero en realidad yo no era médico.
Cuando apenas tenía 15 años formaba parte de una banda secreta de garaje. Siempre pensé que aquello influyó en lo que luego llegué a ser. Del grupo salió un escritor de prestigio y un tenor que triunfó en el Metropolitan. A mí sólo me interesaba la música, pero también encontraba tiempo para leer. Mis bromas y algunos artículos como editor de la revista del colegio me regalaron el adjetivo de irreverente. Dejé los estudios antes de graduarme.
Mi mayor frustración fue ser rechazado por la Fuerza Área Canadiense al considerarme demasiado joven. No pude participar en la Primera Guerra Mundial. Así que me dediqué tan solo a la música. Estudie en el instituto Curtis, una de las mejores escuelas de música del Estados Unidos. Lo hice con el apoyo económico de Mrs Bok, que creía firmemente en mis habilidades musicales.
Mi afición por la endocrinología fue meramente casual. Uno de mis compañeros de piso, me dejó, al marcharse, todos sus libros sobre el tema y al no tener nada más que leer, los leí todos. Estos conocimientos me sirvieron más tarde para escribir un libro de detectives con resolución hormonal y tras un encuentro con una famosa estrella de Hollywood preocupada por el tamaño de su pecho, me hizo famoso entre las actrices.
No sé si fueron las hormonas reproductivas las causantes, pero en 1920 me enamoré perdidamente de una joven rubia de 16 años a la que seguí a Europa. Como no tenía dinero me hice concertista de piano. Mi primer concierto fue en Londres en 1922, un éxito que me llevó por todo el continente. Normalmente terminaba los conciertos con una o dos piezas muy modernas de mi propia creación que me otorgaron el título de “El chico malo de la música”.
Berlín me pareció la ciudad del arte y la intelectualidad, allí conocí al Igor Stravinski, le perdí la pista a la mujer que me llevó a Europa pero encontré a la que sería mi mujer y musa, Boski Markus, una estudiante polaca de la universidad de Berlín.
París fue para mí el centro del mundo en 1923 y era allí donde quería instalarme. Pase unos años felices, estimulado por famosos amigos como Joyce, Hemingway o Picasso, en un atractivo apartamento y con mi amada Boski. Incluso tenía dinero aunque se acabase a menudo. París me catapultó a la fama, tanto en lo literario como en lo musical. Mi concierto en el teatro de los Campos Elíseos fue el que me hizo un nombre y sería, además de la clave de mi genialidad e inventiva, mi más famosa y controvertida obra, “El ballet mecánico”.
En él había campanas elécticas, sirenas, propulsores de aeroplano y 16 pianolas sincronizadas de forma automática. Cuando en 1927 regresé a mi tierra natal, lo interpreté en el famoso Carnegie Hall de Nueva York. El concierto fue un fiasco y las críticas malísimas. Supuso el final de una etapa.
Pocos días antes de mi encuentro con Hedy, el conflicto en Europa se precipitaba, el 1 de septiembre los nazis invadieron Polonia y dos días más tarde Inglaterra, Francia, Australia y Nueva Zelanda declaraban la guerra a Alemania. Aquel mismo día un barco de pasajeros Británico en dirección a Canadá fue torpedeado y hundido por la flota alemana. Era la primera agresión con torpedos que afectaba a civiles. Nuestra conversación dejó de lado las hormonas para centrarse en la guerra. Me habló de su primer matrimonio y de cómo sabía lo suficiente como para iniciar el diseño de un arma nueva que podría dar a los aliados un rápido ascenso en el control de la guerra.
Encontré sus ideas tan convincentes que inmediatamente comenzó nuestra alianza. Comparada con el resto de las actrices de Hollywood, Hedy era para mí un gigante intelectual.
“El sistema secreto de comunicación”

Ninguno de nosotros sabía que los torpedos americanos no eran dirigidos electrónicamente. Quizás fue éste uno de los motivos por lo que la armada americana desestimó nuestra patente. Aunque tampoco ayudó mucho el que los inventores fuéramos un músico y una actriz.
Yo sabía de torpedos en base a las prácticas alemanas y George apenas sabía nada, pero sabía sincronizar pianolas. Tomó notas detalladas y mi idea se fue configurando. Inventamos juntos el radio-control de torpedos, le dimos el nombre de “sistema secreto de comunicación”.
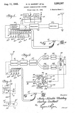
Era un sistema capaz de guiar un torpedo, vía radio control, sin que lo detectase el enemigo. Para ello, la señal de radio en lugar de seguir una frecuencia fija, saltaba constantemente de frecuencia, hasta 88 frecuencias, tantas como teclas tiene un piano. Sin embargo, a pesar de nuestra gran coordinación, para su implementación detallada se necesitaba indudablemente un técnico experto.
El Consejo Nacional de Inventores, entusiasmado con la idea, nos puso en contacto con Samuel Stuart Mackeown, profesor asistente en el California Technical Institute, y con la firma de patentes Lyon and Lyon. Así elaboramos una patente que en 1941 quedó lista y a la espera de conseguir la concesión de plena patente.
El 11 de agosto de 1942 la patente número 2,292,387 nos fue finalmente concedida, a Hedy Kiesler Markey y George Antheil. Markey era mi nombre de casada. Un documento exquisito. Sus detallados diagramas estaban dibujados a mano y en cada página aparecían nuestros nombres escritos también a mano con una caligrafía preciosa. La patente es muy fácil de interpretar pero también es ingeniosa y sorprendente en su combinación de electrónica , electromagnetismo y tecnología puramente mecánica. En el corazón del sistema había dos pianolas, bueno tan solo el mecanismo de control de las mismas, ésta era la aportación de George, pero la idea general era enteramente mía.
Cedimos la patente al ejército naval americano, quien la almacenó como alto secreto. Esperábamos salvar muchas vidas con ella, pero no pudo ser. Luego supe que el ejército la usó por primera vez en la crisis de los misiles de Cuba, no para dirigir torpedos, sino para asegurar las comunicaciones entre barcos.
Cuando, en 1980, la tecnología fue desclasificada nuestro invento tomó vida propia. La idea central que contenía la patente resultó ser la base de las comunicaciones inalámbricas seguras. Ni en sueños imaginé que estuviera destinada a producir un impacto tan importante en nuestra forma de vida.
Siempre he dicho que cuando muera quiero que graben en mi tumba “Muchas gracias por una vida llena de color”. He vivido dos guerras mundiales, en dos continentes y he tenido seis matrimonios. He pasado del cine mudo al sonoro, del blanco y negro al color, he estado rodeada de mitos que ni yo misma distingo de la realidad y he sido declarada “la mujer más bella del mundo”. Pero en estos últimos años de mi vida también ha habido espacio para el escándalo, la frustración y la penumbra: litigios, arrestos, adicciones que me han mantenido recluida y en el punto de mira de la opinión pública.
Ahora que ya han pasado más de 55 años de la patente, parece que me he vuelto lista de repente, me han otorgado el premio a los pioneros de la Electronic Frontier Foundation por nuestro original invento del salto de frecuencia. Demasiado tarde para George.
También he sido la primera mujer galardonada con el “Oscar” de las invenciones, el Bulbie Gnass Spirit of Achievement Bronze Award. No me he sentido con fuerzas para asistir a la ceremonia, pero les he dado las gracias con mi teléfono móvil, que al parecer también usa mi idea. En mi país natal, me han concedido el mayor honor que un inventor puede recibir en Austria, la medalla Victor Kaplan de la Academia austriaca de ciencias. Por si esto fuera poco, la revista Playboy me acaba de nombrar una de las 100 estrellas más sexis del siglo.
Agradezco todos estos premios, pero si de algo estoy orgullosa es de dejar una idea, un concepto que pueda dar vida a otros inventos, como otros lo hicieron hace más de un siglo para que George y yo pudiéramos aportar algo nuevo.

En enero del año 2000, a punto de comenzar el siglo XXI, Hedy se quedó dormida. No soñó que volvía a la cantina, tan solo no volvió a despertar.
Puedes escuchar aquí la entrevista simulada a Hedy Lamarr basada en este artículo:
https://anchor.fm/ciencia-literata/episodes/Hedy-Lamarr—-La-increble-historia-del-chico-malo-y-la-mujer-hermosa-e1ch3kc
Bibliografía:
1.Spread Spectrum,Hedy Lamarr and the mobile phone by Rob Walters, Updated Edition
2. Hedy’s Folly. The life and breakthrough invention of Hedy Lamarr by Richard Rhodes.
3. Bombshell: The Hedy Lamarr Story Directed by Alexandra Dean https://www.youtube.com/watch?v=1Rc4DdZzGp8

Un comentario sobre “La increíble historia del chico malo y la mujer hermosa”